霍尔器件产品信息实际上,用霍尔器件测量磁场强度时,是用恒定电流法还是用恒定电压法,要考虑多方面的因素,如磁场强度和霍尔电压间的线性误差、灵敏度的温度系数、同样工艺条件制造的器件的性能分散程度等
用霍尔器件测量磁场强度的特点是:器件很小很扁(可以放在窄缝中),有很高的准确度、灵敏度和稳定性,还有很宽的工作温度范围
已知试件的尺寸、磁场强度和电流,测量霍尔电动势即可求得试件的载流子浓度

载流子浓度是半导体材料的一个重要参量
在不同温度下测量霍尔系数可以得到试件中载流子浓度和温度的关系
这是了解半导体材料的基本性质的一个重要方法

在给定的电流强度下,产生的霍尔电动势与磁场强度成正比
可以利用这一原理来测量磁场强度
如果磁场由电磁铁产生(图3),磁场强度与电流强度IB成比例,在磁场中的霍尔器件产生的霍尔电压与两个电流的乘积IxIB成比例,因此可以利用霍尔效应制成乘法器
乘法器有许多用途,除进行乘法运算外,还可以用作调制器、除法器、功率计等
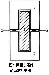
图4是利用霍尔器件测量几千安培以上的大电流的方法
图4中1是通过大电流导体的截面,2是两块磁性材料,在两个空气隙中放有霍尔器件3
用霍尔器件测量磁性材料中的磁感应强度
此法特别适用于测量大直流电流强度
用永久磁铁作为不消耗能源的“发射机”,用霍尔器件作为“接收机”
将它们分别粘在两个物体上,则可测量两个物体的相对位置
还可以利用霍尔效应制作旋转器、单向器和环行器
这类器件使信号沿单一方向传输,而不能沿相反的方向传输
以上内容由大学时代综合整理自互联网,实际情况请以官方资料为准。